人工智能用电量激增,美国科技巨头加码核能投资
【环球时报特约记者 甄翔】一段时间以来,随着人工智能的快速发展,其高能耗问题日益受到关注。在此背景下,包括微软、谷歌、亚马逊在内的美国科技巨头掀起了核能投资热潮。《纽约时报》16日报道称,亚马逊当天宣布向一家名为X-Energy的初创企业投资,以研发...
【环球时报特约记者 甄翔】一段时间以来,随着人工智能的快速发展,其高能耗问题日益受到关注。在此背景下,包括微软、谷歌、亚马逊在内的美国科技巨头掀起了核能投资热潮。《纽约时报》16日报道称,亚马逊当天宣布向一家名为X-Energy的初创企业投资,以研发...

划重点 01微软将于10月21日关停中国个人Azure OpenAI服务,仅企业客户可用。 02由于此,多位开发者表示,这是个人身份在国内能合规使用OpenAI的唯一窗口。 03然而,微软方面暂未表态,有开发者不满微软仅给四天处理时间。 04与此同时,国内大模型企业已纷纷...

杨元庆对话黄仁勋全程视频,宣布联想与英伟达达成新合作 特约作者:李海丹 郝博阳 编辑:郑可君 北京时间10月15日晚,联想举行了2024联想Tech World大会。今年的大会再续去年的主题,并且强调了 智能 二字Smarter AI for all。 基于全球第一PC制造商的头衔和...

划重点 01人工智能在电池安全领域取得重大突破,亚利桑那大学研究团队将机器学习与热传感器相结合,有效预测和识别电池热失控事件。 02该团队开发的系统可以实时监控和早期干预,降低电动汽车发生灾难性故障的可能性。 03除此之外,AI技术还在帮助科技公司快...

【环球时报综合报道】人工智能(AI)技术的繁荣为加勒比海小岛安圭拉(国际域名缩写.ai)带来了一笔意外之财。据美联社15日报道,上世纪90年代,作为英国海外自治领地的安圭拉获得了.ai域名的控制权,而ChatGPT于2022年首次亮相并掀起AI技术的新浪潮后,各大...

本文来自微信公众号:王智远,作者:王智远,题图来自:视觉中国 没有。为什么这么说? 事情是这样:昨天,朋友提出两个疑惑: 1. 他想了解一些男士品牌在双11的宣传策略,然后,用Kimi Chat搜遍全网,也没有得到具体有参考价值的内容。 2. 他为品牌推广找了...

划重点 012024 ITValue Summit数字价值年会以Ready For AI为主题,探讨AI技术在各行业中的应用和落地挑战。 02与会嘉宾分享了不同领域的AI落地经验,包括保险、医疗、物流等行业。 03然而,AI技术在实际应用中仍面临数据获...
10月15日消息,字节跳动旗下的海外社交平台TikTok日前宣布,该公司将在全球裁员数百人,其中包括大量马来西亚员工,因为公司将把重点转向更多地使用人工智能进行内容审核。 据外媒报道,字节跳动从其马来西亚分公司裁掉了700多名员工。TikTok方面澄清称,受...

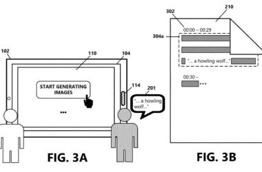
IT之家 10 月 15 日消息,科技媒体 MSPoweruser 昨日(10 月 14 日)发布博文,报道称微软公司获得了一项新的专利,描述了基于用户实时输入的语音来生成图片。 根据美国商标和专利局最新公示的清单,该专利共计 20 页,微软于 2023 年 4 月 5 日提交申请,于...

划重点 01OpenAI低调发布新研究作品Swarm,旨在探索轻量级、可扩展、可定制的多代理协作模式。 02Swarm提出了「routine」和「handoffs」概念,用于表达agent之间的任务传递。 03然而,Kye Gomez指控Swarm从名字到框架均抄袭其创业项目 Swarms,引发超过20万...

文 | 王吉伟 大语言模型不再被视作通往AGI的桥梁,生成式AI未来的发展方向在哪里? 已经烧掉5000亿美元还要继续耗费资源的大语言模型,后面的路还走得动吗? 烧钱、耗费资源、难以盈利,被持续唱衰的大语言模型前路艰难但商业价值明显 被砸重金的Transformer...

新京报讯(记者张璐)由北京市科学技术协会主办的第27届北京科技交流学术月开幕活动暨数字化赋能战略性新兴材料交流活动近日在中国建材总院举办。在活动上,中国工程院院士、北京科技大学教授谢建新介绍了人工智能对材料科学研究的深远影响,他认为,智能实...